個人発明家が特許をとったもののそれを実際に製品化したりライセンスして収益化するのはなかなかハードルが高いです。
そんな大人でも難しいことを実現した女子高生がニュースになっていたので紹介します。
この女子高生が発明したのは学習用の付箋に関するもので特許番号は第7057055号(【発明の名称】学習用付箋、学習用付箋セット、及びコンピュータプログラム)です。

特許第7057055号
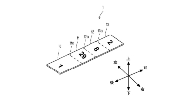
詳細は特許公報を読んで頂くとして、簡単に説明すると、発明自体は糊の付いた短冊状の紙片に切り離し可能なミシン目を複数入れ、そのミシン目の間に数字(日にち)をいれただけのものです。
そして、この発明のポイントはその数字が学習の開始時点からの経過時点を示すタイミング情報(日にち)であること、その日にちが早い日から順に切り離されるようになっていることです。
付箋にミシン目を入れて切り離し可能にするアイデアは下図のようにすでに公知になっていましたのでそれだけでは特許を認められませんでした。しかし、切り離す部分に日にちを示す数字を入れることと、その切り離し順番が少ない数字から並んでいる点に新規性及び進歩性が認められて特許になったものです。


実用新案登録第3196226号
これだけではなにが凄いのがよく分からないのですが、実はこの発明はエビングハウスの忘却曲線という人間の中長期記憶の忘却を表す性質をうまく利用したものであり、この点が審査官のハートを掴んだようです。

エビングハウスの忘却曲線
人間の学習記憶というのは時間の経過と共に低下してしまってなかなか定着しません。そのため繰り返し学習(復習)する必要があるのですが、どのタイミングで復習するのが最も効果的なのかは実は立証されています。
最初は日にちを開けないですぐに(例えば翌日)復習しますが、2回目以降はその間隔を徐々に伸ばしていく(2回目は1週間後、3回目は1ヶ月後等)のが効率的な復習方法だそうです。
そこで、この付箋は例えば月始めの1日に初めて学習をしたとすると、最初に切り離す部分にその翌日の数字(2)を記入し、次に切り離す部分に1週間後の数字(8)を記入し、最後に切り離す部分に4週間後の数字(29)を入れたものです。

特許第7057055号
こうすることで学習者はこの数字に書かれた日にちに従って復習し、復習し終えたらその日の数字の部分を切り離すだけで次の復習の日を正確に把握することができ、エビングハウスの忘却曲線に従った効率的な復習が可能となるものです。

特許第7057055号
冒頭に書いたようにこういったいわゆる便利グッズは個人発明家などによって数多く特許されていますが、実際にその特許を製品化したりライセンス契約で収益化するという例は多くありません。
なぜならば資金や信用に乏しい個人がその特許発明を製品化する際に伴うコストやリスクを乗り越えるのが難しいからです。製品化に耐え得る試作品を造るための金型だけでも100万円以上しますし、仮に製品化できてもその販売ルートがないからです。
また特許を企業に売り込んでライセンス料収益を画策しても多くの企業は基本的に個人とは取引しないのでそれも殆ど不可能です。
ところがこの特許はそういった難しい条件をクリアして製品化に成功し、その売り上げも好調のようです。
ここからは推測になりますが、まず成功した理由の大きな要因は、製品化にコストがかからないことが挙げられます。つまり、学習用付箋は紙片だけですので金型や部品が全く要らないことです。もちろん印刷や裁断、デザインなどのコストはかかりますが、学習用付箋自体は従来から多くの中小企業で造っていますのでデザインだけ決めてオーダーすればそれほどコストはかからないと思います。
次に2つめの成功の理由は発明者が現役の女子高生であること。これだけでマスコミは食いつきますので宣伝効果抜群です。また、SNSのネタにもなりやすく、情報が拡散される可能性が高いという点です。
この発明は外国にも出願しているようですので、もし世界中で特許をとって販売されると大変な収益が期待されます。
